汽车覆盖件成形过程中,压料面上各部位的进料阻力存在很大差别,通常要采用拉延筋来进行控制。拉延筋参数的合理取值及其合理布置是控制金属流动、防止出现起皱和破裂的重要手段。拉延筋的设计是冲压模具设计的关键技术。

拉延筋广泛应用于薄板成形已经有悠久历史,但是,在现有的若干设计资料中,可供设计人员适用的结构参数却显得非常笼统。他几乎不与零件的大小,材料的厚度及零件形状挂钩,而基本局限于覆盖件的成形。

2
拉延筋的作用
凸筋一般设在压边圈上,而在凹模表面开出相应的筋槽,即凹筋。也可将凸筋设在凹模表面,而在压边圈上设置凹筋。

3
拉延筋的作用
1、加强压料面对材料流动的控制能力。
2、增加进料阻力,使毛坯承受足够的拉应力,提高拉深件的刚度和减少由于回弹引起的表面缺陷。(如图下加强板 明明是可以做成型 为何还做拉廷工艺!)

3、扩大压边力的调节范围。
这个首先你得知道“拉廷筋”主要作用简单来说就是增加材料的阻力, 那么“压边力”也是起到同样的作用,两者相辅相成,可以通过调节拉廷筋的阻力来减少压边力达到同样的目的。

4
拉延筋成型常见问题及几何形状
成型常见问题:起皱拉裂

拉延筋约束力过小,容易起皱;
拉延筋约束力过大,容易拉裂;
上所列问题该怎样掌握好这个度呢?从熟知各类筋条特性开始——
半圆形:最常见的形状,对材料的产生阻力与应变最为适中。

矩形:矩形筋可提供比半圆形筋更高的变形抗力。由于矩形的Rb要比半圆形Rb小得多,会造成板料过高的应变,而影响其表面质量,通常在拉伸起伏小的覆盖件上使用。

边形:最大的优点是可节省材料(边的位置离凹模圆角较近),但它不象矩形筋和半圆筋那样可通过控制筋的压入量(bead penetration)来改变变形抗力,通常在比较规则件上使用。

异形:不规则的形状,较少见 如图:拉延筋采用的是波浪筋,可以有效的增大进料阻力,提高外板的延伸率。

5
拉延筋形式
拉延筋一共有三种形式:
直线拉延筋

其中斜拉延筋工艺,除在压边圈的压料面上设置有传统的直线或环线拉延筋外,还在压边圈的压料面上设置有斜拉延筋。传统拉延筋主要提供板材在冲压中的具有被动性质的流动阻力,而斜拉延筋除提供流动阻力外,还可提供具有主动性质的引导材料流动的作用力。
6
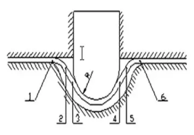
凹模口的形状及拉延筋的布置

7
拉延筋布置原则
1、为了增加进料阻力,提高材料的变形程度,可以布置整圈的阻力较大的拉延筋。
2、为了能最大发挥拉延筋的作用,局部拉延筋必须与该处毛料的流动应力相垂直,所以局部的拉延筋最好和邻近的凹模口轮廓相平行。
3、为了增加径向拉应力,降低切向压应力,防止起皱的产生,可以在容易起皱的地方设置局部的短筋。
4、为了调整进料阻力,可以在直线部位设置拉延筋,而圆弧部位不设拉延筋,当拉延深度相差较大时,在深的部位不设拉延筋,在浅的部位设置拉延筋。
8
拉延筋尺寸大小

9
拉延筋合理位置
1、别起外皱
设置了平面压边圈并单独施加平面压边力,则压筋时外皱可以避免,就是说,在设置了双重压边机构情况下可以不受外皱条件限制,但却增加了模具的复杂程度。
2、别起内皱
筋的阻力随着位置的外移而呈现上升趋势。所以,筋的位置应该保证凹模内悬空部位。在结构已经定前提下,阻力仅是位置的函数。
3、别拉裂
阻力的增大虽然可以消除内皱,但阻力过大又会造成内部拉裂,在筋的结构已经定的情况下,通过调整位置参数可以避免。
10
拉延筋阻力组成
1、板材通过拉延筋时,弯曲反弯曲的变形力是阻力的主要部分。
2、凡与筋接触的部位均产生摩擦阻力,随着润滑状态的不同,筋的总体阻力均有不同程度变化,但变化不大。
3、板料拖过拉延筋后的再变形抗力增加,使得总拉深力上升。这部分增量是由于拉延筋的存在造成,所以也应是筋的阻力。
4、环形筋与直条筋相比,还有板料通过拉延筋时的环状弯曲所必需的变形力。随着筋的位置半径减小,其所需外力增大。
锻造工艺(Forging Process)是一种利用锻压机械对金属坯料施加压力,使其产生塑性变形以获得具有一定机械性能、一定形状和尺寸锻件的加工方法,锻压(锻造与冲压)的两大组成部分之一。
内容全面:从半精冲的精整加工和平面压边半精冲,到齿圈压板精冲,再到特种精冲的对向凹模精冲、往复精冲、闭挤式精冲等都进行了详尽的论述 重点突出:对于工程上广泛应用的齿圈压板精冲,无论是成形机理、工程问题德理论解析,还是精冲工艺模具设计方法,以及符合精冲涉及的挤压和冲压相关工艺等进行了详尽的论述。
轴类零件由于材料、结构原因、复杂加工流程以及热处理过程,在内应力作用下产生不同程度的弯曲变形,早期是采取人工校直、液压机校直,凭经验设定压力、压下量。为了适应高精度、大批量生产需求,自动校直机应运而生, 1994年就有国产自动校直机投入市场。目前汽车零部件行业国产、进口自动校直机应用广泛,检测精度、报警灵敏度也不断提高。
基本概况、发展历程、应用前景、生产模式
连续模的维护,须做到细心、耐心、按部就班,切忌盲目从事。因故障修模时需附有料带,以便问题的查询。打开模具,对照料带,检查模具状况,确认故障原因,找出问题所在,再进行模具清理,方可进行拆模。拆模时受力要均匀,针对卸料弹簧在固定板与卸料板之间和卸料弹簧直接顶在内导柱上的模具结构,其卸料板的拆卸要保证卸料板平衡弹出,卸料板的傾斜有可能导致模具内凸模的断裂。
冲压件是常件的金属件,在冲压前,要对冲压件下料,这时,往往要对冲压件展开计算
看了前面的文章是否还对汽车机械部分的工作原理没有一个清晰的认识,下面就为大家整理了一些汽车机械工作原理的动图,让你三分钟秒懂!
全铝汽车车身的焊接就不能采用传统焊接方法,目前全铝车身的焊接工艺主要有MIG/MAG 焊、点焊以及激光焊等工艺。本次研究针对其中的点焊技术进行详细分析与探讨。本研究主要分为两部分,前一部分对铝点焊工艺相关内容进行分析,后一部分对其应用流程进行描述。
模具材料是每位模具人必须掌握的知识,合理使用材料对模具的使用寿命、成本都有很大影响。那常见的材料到底又有哪些呢?
在工业产品向多样化、高档化发展的过程中,如何提高直接影响产品质量的模具质量是一项重要的任务。在模具制造过程中,形状加工后的平滑加工与镜面加工称为零件表面研磨与抛光加工,它是提高模具质量的重要工序。掌握合理的抛光方法,可提高模具质量和使用寿命,进而提高产品质量。
工业大数据示范应用投资资助。鼓励工业大数据示范应用,对用于工业数据采集、清洗、管理、分析等且投资额50万元及以上的工业大数据示范应用项目,择优按照不超过项目设备、软件和技术服务实际投资额8%的标准给予补助,最高300万元。
技术改变生活!
6月初,中国汽车企业海外首个全工艺整车制造厂——长城汽车俄罗斯图拉工厂将正式竣工投产,同时长城汽车首款“全球车”哈弗F7将下线并于俄罗斯上市。图拉工厂的投产,无疑加快了长城汽车的全球化进展,为中国汽车品牌探索出全球化路径,并助力中国经济在全球市场寻求新的空间。
学机械,结构设计,要经历过多少错误,走过多少弯路,不断从中总结经验,才能按照客户的要求设计出满意的产品,甚至成为这一行的大师。是的,经验对于我们个人的设计之路是一笔宝贵的财富,不管是自己的经验,还是别人的经验,都不可忽视。下面,小编今天就跟各位分享一位设计老鸟的设计心得。
锻压工艺过程设计是锻件生产中最重要的技术准备工作。
钢自奥氏体化温度实施淬火时,冷速必须大于临界值,不触碰C曲线的“鼻子尖”才能获得马氏体组织。传统观点认为,在马氏体转变的温度区间内快速冷却,由于会产生过大的拉伸内应力,往往导致工件的变形或开裂。1992年,乌克兰科学院工程热物理研究所的H、И· Kobasko教授,通过长期研究发现,工件淬火开裂的概率并不是一直随淬火冷却速度的增大而增加的。当冷却速度超过某一数值后,进一步增大冷却速度,反而使淬火开裂几率下降,甚至不发生开裂,钢的力学性能得到改善,工件的使用寿命延长。
在任何电镀溶液中,由于水分子的离解,总或多或少地存在一定数量的氢离子。因此,电镀过程中,在阴极析出金属(主反应)的同时,伴有氢气的析出(副反应)。析氢的影响是多方面的,其中最主要的是氢脆。氢脆是表面处理中最严重的质量隐患之一,析氢严重的零件在使用过程中就可能断裂,造成严重的事故。表面处理技术人员必须掌握避免和消除氢脆的技术,以使氢脆的影响降低到最低限度。
随着国内制造企业实力的提升,很多工厂开始大举购买更好的设备进行生产。然而,有些工厂使用这些设备后的效能并不太理想,有的甚至在短期内设备就开始出现故障。
用于制作易拉罐的铝卷大约重9吨,宽1.5米,制造75万个易拉罐;涂墨水和清漆的过程是每分钟1800个;铝罐缩颈需要11个工步。。。
热处理工艺是使各种金属材料获得优良性能的重要手段。很多实际应用中合理选用材料和各种成形工艺并不能满足金属工件所需要的力学性能、物理性能和化学性能,这时热处理工艺是必不可少的。
座椅调节机构由大量的精冲部件组成。在这个领域模具与生产技术方面的高精度要求是至关重要的。 与此对应的是,客户也在要求更方便的调节方式和更好的安全性。在不断丰富我们对座椅调节器精冲部件的生产和研发经验同时,我们在这类典型的精冲零件,例如座椅调高器、倾斜度调节和座椅调角器等的核心竞争力也不断地被夯实。
当我们在同一个文件中有多个工件要加工的,或者一个工件要加工多个面的,我们可能会分多个图层,并设定多个加工坐标,也会作出很多个程式。图档做好保存后,在短时间内我们可以能清楚地记得每个程式所对应的工件或加工面。但时间过久了,回过头来修模改模或者调程序重新加工多一件,我们可能就要再花点时间来消化自己做过的图啦。那有没有办法帮助我们快速的找到程式所对应的图素及图层呢?有的。这就是我接下来要说的“切换图层/布局”的应用。
如果锻件有很多线要画,一般应从划线基准开始。划线基准就是划线时用来确定锻件的位置、几何形伏的基本的线或面。锻件划线时,合理地选择划线基准是做好划线工作的关键,直接影响划线与速度。因此,在划线前应对图纸有关要求和划线件的具体情况要进行认真分析,找出设计基准,使划线基准与设计基准尽量一致,以消除基准不一致所产生的积累误差;弄清加工面和非加工面,找出尺寸精度要求高的部分,然后定出划线基准线(面)
锻造用的原材料为铸锭、轧材、挤材及锻坯。而轧材、挤材及锻坯分别是铸锭经轧制、挤压及锻造加工成的半成品。一般情况下,铸锭的内部缺陷或表面缺陷的出现有时是不可避免的。再加上在锻造过程中锻造工艺的不当,最终导致锻件中含有缺陷。以下简单介绍一些锻件中常见的缺陷。
德国人卡尔.本茨在1885年研制的第一辆汽车预示着汽车工业的开始,在随后的130年的发展长河中,汽车已经成为一种人们出行不可缺少的交通工具。目前汽车工业经过一百多年的发展也已经达到了相当高的水平。现在汽车工业的规模和其产品的质量已经成为衡量一个国家机械水平的重要标志之一。
三分车工七分刀具,想干好车床首先要保证“武器”要趁手,再就是多干多练,外圆、内孔、长度、锥度、螺纹的结合练习,再就是复杂零件的车削练习,如:内外梯形螺纹,蜗杆,细长轴,薄壁套等,并学会使用中心架和跟刀架。
Q345是一种钢材的材质。它是低合金钢(C<0.2%),广泛应用于建筑,桥梁、车辆、船舶、压力容器等。Q代表的是这种材质的屈服强度,后面的345,就是指这种材质的屈服值,在345MPa左右。并会随着材质的厚度的增加而使其屈服值减小。
针对新一代汽车钢“高强、减重”这一重大需求,东北大学“先进冷轧、热处理和涂镀工艺及装备技术”团队在高性能冷轧汽车钢工艺与产品研发方面取得重要进展:开发出纳米析出2GPa高韧性热成形钢,并应用于北汽新能源纯电动两座车型”LITE”侧防撞区;在低碳低锰和现有产线能力等多约束条件下开发出系列化超级淬火配分钢(Super-Q&P)工业化原型技术,其中全球首创的基于一步过时效处理的980MPa级Q&P钢已批量化生产,强塑积可达27GPa·%;提出热轧-冷轧-连续退火一体化控制的技术思路,提高了产品组织均匀性,保证了高强钢强塑性和成形性能的良好匹配。上述研究成果突破高性能钢强韧化的经典理论和关键技术瓶颈,有助于推动我国汽车轻量化钢铁材料研发与应用达到国际领先水平。
含碳量高的棒材发生过很多次断裂,如45#钢做的轴,使用不太长的时间就发生断裂。从断裂后部件上取样,进行金相分析,往往找不到产生的原因,即算牵强附会找到了一些原因,也不是实际的原因。
1系:特点:含铝99.00%以上,导电性有好,耐腐蚀性能好,焊接性能好,强度低,不可热处理强化. 应用范围:高纯铝(含铝量99.9%以上)主要用于科学试验,化学工业及特殊用途。
不论是飞机、轮船、汽车,还是手机、相机、电脑,我们生活中用到的工业制品,都是由诸多的零部件组合而成,而零件与零件的连接方式有很多种。
历经半个世纪的发展,我国飞机制造科研能力与世界先进水平还存在一定的差距,特别是飞机制造的关键技术有待突破,设计人才有断层,风险较大,资金短缺等严重等制约了行业的进一步发展和品质的提高。
下面是CFM公司制作的小短片,从空气分子角度,介绍喷气式发动机工作原理,顺便宣传自己的产品。每年专英讲到发动机,都回顾一下这个短片。今年顺便翻译几个难句!
Docol HE汽车钢具有出色的边缘延展性,并且非常适合精密冲裁。 Docol HE汽车钢是一款全新系列的热轧先进高强钢,具有更为出色的边缘延展性,适用于面临生产技术挑战的汽车制造商。
随着汽车产业的迅猛发展,冲压行业也随之蓬勃发展。为适应不断增长的产量,各种自动化生产线应运而生,并随着不件产品的特征需求,被赋予不同的生产方式。为方便企业根据自身产品特点选择不同的生产方式,文章对常见的冲压自动化生产线进行分类:级进模冲压、多工位冲压、串联冲压,并对各生产线特点及选择方式作以简要剖析。
1、模具的制造精度 钢材组织转变不均匀、不彻底及热处理形成的残余应力过大,造成模具在热处理后的加工、装配和模具使用过程中的变形或开裂,从而降低模具的精度,甚至报废。
随着客户对于产品质量要求越来越高,整平度也就变成了重要的参数,传统的方式比较低下,参看文章【知识】如何进行钣金件的矫正?,矫平机变成了不二的选择,那么如何选择市面上的矫平机呢?
球墨铸铁作为重要的金属结构材料已广泛应用于许多领域。在某些工况条件下使用的一些零部件,客观上要求球墨铸铁在一定的强度下具有较高的冲击韧度,尤其是较高的低温冲击韧度,以满足使用要求。低温高韧性球墨铸铁是风力发电设备的主要构件材料,包括装置叶片的轮毂、齿轮箱、机械台架和底座构件。据资料介绍[1,2],1-2MW的机组需15吨球铁件,4.5MW风力发电机组约需35—50吨球铁件, 2005-2008年全世界约增加40,000MW,每年需铸件20万吨。其材质在欧洲牌号是EN-GJS—400—18U—LT,需有良好的抗拉强度、伸长率和刚度,而且还要求在-20℃冲击韧度平均为10J/cm2。随着国际贸易增长和国内多种应用领域对低温高韧性球墨铸铁需求的扩大,对低温高韧性球墨铸铁的需求日益增长。尽管国内一些研究工作者对高韧性球铁QT400-18进行了一些研究[3-6],但这与低温高韧性球铁是不同的,即使获得100%的铁素体基体,室温下具有很好的韧性,但低温性能往往不能满足要求。国外生产低温高韧性球墨铸铁通常使用高纯生铁材料,在国内由于高纯原材料的限制以及企业生产工艺水平的原因,生产过程中有一些工作需要
在生产中, 有时会出现淬火后硬度不足情况, 这是热处理淬火过程中常见的缺陷。”硬度不足”有两种表现, 一种表现为整个工件硬度值低, 另一种表现为局部硬度不够或出现软点。当出现硬度不足的现象时, 要用硬度试验或金相分析等方法分析是哪种”硬度不足”, 然后从原材料、加热工艺、冷却介质、冷却方法以及回火温度等方面找原因, 从而找出解决办法。
法国Les Mureaux的Prodways集团是GroupeGorgé的子公司,已宣布开发用于大型钛零件增材制造的快速添加锻造(RAF)技术。
用于各行业的钢材品种达数千种之多。每种钢材都因不同的性能、化学成分或合金种类和含量而具有不同的商品名称。虽然断裂韧性值大大方便了每种钢的选择,然而这些参数很难适用于所有钢材。
一张图看懂德国钢铁材料牌号
轴承钢又称高碳铬钢,含碳量Wc为1%左右,含铬量Wcr为0.5%-1.65%。 高碳铬轴承钢GCr15是世界上生产量最大的轴承钢,含碳Wc为1%左右,含铬量Wcr为1.5%左右,从1901年诞生至今100多年来,主要成分基本没有改变,随着科学技术的进步,研究工作任在继续,产品质量不断提高,占世界轴承钢生产总量的80%以上。以至于轴承钢如果没有特殊的说明,那就是指GCr15。
现代企业管理要求减少待机时间,如果每换一次备用感应器就需重新调整一次工艺,这是不允许的,因此,备品感应器必须与原来替换的感应器性能完全一个样,不但外形、重要的是主要尺寸等均须完全一致。还有一种情况是一台淬火机床上多工位工作。例如左、右两个工位同时淬两个同样的工件,如果感应器有效圈尺寸不一致或喷液器角度、流量不一致,左、右两工位淬火后的工件,质量即会不一致,为保证感应器的一致性,必须有制造模具,焊接夹具与检具等,这样才能保证产品的一致性。
是在焊接时高温下产生的,故称热裂纹,它的特征是沿原奥氏体晶界开裂。根据所焊金属的材料不同(低合金高强钢、不锈钢、铸铁、铝合金和某些特种金属等),产生热裂纹的形态、温度区间和主要原因也各不相同。目前,把热裂纹分为结晶裂纹、液化裂纹和多边裂纹等三大类。
汽车板的成形性及冲压成形技术
在生活中,汽车的保有量越来越大,而汽车上的轮毂轴承需求量也日益增加,正确的安装汽车轮毂轴承能让汽车的行驶安全系数增加。过度磨损和轴承损坏如不及时更换,会对行车安全带来一定隐患
近几年随着人们生活水平的提高,汽车需求量也越来越大,各汽车厂的竞争日趋激烈,不断投入具备成本竞争力的新车型抢占市场,与此同时,用于生产汽车钢材所需的铁矿石与焦炭等自然资源却日趋紧张。提高材料利用率,不仅能降低汽车的制造成本,提高汽车品牌的竞争力,而且也符合节能降耗的环保理念。
6082 铝合金转向节模锻工艺及变形规律
模具是将材料成形(成型)为具有特定形状与尺寸的制品、制件的工艺装备,以下列举部分模具零件的术语,后期会陆续更新。
弹簧在模具中主要作用是提供压料力、复位脱料力的弹性元器件。目前模具中使用的提供弹性的元器件有“矩形弹簧”“优力胶(聚氨酯)”“氮气弹簧”等。其选择原则主要是根据其使用寿命及模具成本进行考虑。
模具,尤其是深拉伸、多次拉伸模,很多设计师不愿意做,很多非专业设计拉伸模的模具厂都不愿意接单。
用座标网格试验法分析。拉深时压边圈先把中板毛坯压紧,凸模下行,强迫位于压边圈下的材料(凸缘部分)产生塑性变形而流进凸凹模间隙形成圆筒侧壁。观察拉深后的网格发现:底部网格基本保持不变,筒壁部分发生较大变化。
锻件是制造产品的第一步,需要对锻件进行严格的检验,才能生产出合格的产品。
钣金的折弯成型:金属板材的弯曲和成型是在弯板机上进行的,将要成型的板材放置在弯板机上,用升降杠杆将制动片提起,工件滑动到适当的位置,然后将制动片降低到要成型的板材上,通过对弯板机上的弯曲杠杆施力而实现金属的弯曲成型
高温合金凭借优异的抗氧化和抗热腐蚀性能在航空发动机、汽车发动机、燃气轮机、核电、石油化工等多个领域广泛应用。
模具中,不管是新开模具还是量产模具都难免会出现一些机械类问题,尤其是新开设的模具。以新开模试模为例,常见的问题主要有:跳废料、堵废料、毛刺过大、冲头易断、不脱料、噪音过大这六大类。
模具技术水平的高低是衡量一个国家制造业水平高低的重要标志,随着我国工业进一步的发展要求模具行业向大型,精密,高效,多功能方向展,其中一个重要的途径是将模具与自动化结合,本文作者结合其在冷冲压模具领域十多年的自动化技术探索经验,和大家共同探讨冲压模具发展方向。
航空制造是制造业中高新技术最集中的领域,属于先进制造技术。美国惠普公司研制的F119发动机,通用电气公司的F120发动机,法国的SNECMA公司的M88-2发动机,英国、德国、意大利和西班牙四国联合研制的EJ200发动机。这些代表世界先进水平的高性能航空发动机,它们的共同特点是普遍采用了新材料、新工艺和新技术。今天就跟小编来看看那些高性能航空发动机上的新材料。
当我们接到一副新模具需打样试模时,我们总是渴望能早一些试出一个结果且祷求过程顺利以免浪费工时并造成困扰。
[ ]莫明立. 某汽车后地板横梁冲压成形数值模拟及参数优化[J]. 锻压技术,2019 ,44(6):41-45. Mo Mingli. Numerical simulation and parameters optimization on stamping for rear floor beam of an automobile[J]. Forging & Stamping Technology,2019 ,44(5):41-45.
某超级跑车全自动化智能生产线,场面比跑车本身都震撼!
冲压快速线共有4台机器人及2台压力机模型。包含四个生产流程:包含拆垛,视觉对中上料,压机间搬运,线尾下料。
冲压加工是通过模具对工件板材毛坯施加外力使之发作塑性变形或分别,然后获得必定标准、形状和功用的工件的加工方法。冲压拉伸工艺应结合设备、人员等实际情况,选择和规划出技能先进、经济上合理、运用安全可靠的工艺方案。
1 精密模具冲压常规产品导入流程 1.1产品图→加工图→排样图→结构图→组立图→模具图纸 1.2 连续模具排样图及结构图须审核 1.3 单冲模具排样图及结构图须审核 1.3 模具图纸须审核签字生效,图纸规范清晰 2 样品控制流程 现场提供样品→自检→品管部检测→检测报告→检测报告确认→工程部→客户
模具产品当中成型工艺非常常见,普通的成型结构打出来的产品一般外观都不是太好,会存在一些折弯根部的划伤、压痕等。在设计过程中,有部分产品是需要外观无划痕,属于外观件,有哪些方法可以减少、消除表面划痕吗?
我们需知道,在进行模具拆模之前,连续模的维护须做到细心耐心按部就班,切忌盲目从事,因故障修模时需附有料带,以便问题的查询。打开模具后按照说明,检查模具状况,确定故障原因,找到问题方可进行模具清理。
浅析行李箱盖内板起皱原因与改进
一、从废料情况看出的信息 废料本质上就是成形孔的反像。即位置相反的相同部位。通过检查废料,你可以判断上下模间隙是否正确。如果间隙过大,废料会出现粗糙、起伏的断裂面和一窄光亮带区域。间隙越大,断裂面与光亮带区域所成角度就越大。如果间隙过小,废料会呈现出一小角度断裂面和一宽光亮带区域。 过大间隙形成带有较大卷边和边缘撕裂的孔,令剖面稍微有一薄边缘突出。太小的间隙形成带稍微卷边和大角度撕裂,导致剖面或多或少地垂直于材料表面。 一个理想的废料应有合理的压塌角和均匀的光亮带。这样可保持冲压力最小并形成一带极少毛刺的整洁圆孔。从这点来看,通过增大间隙来延长模具寿命是以牺牲成品孔质量换取的。
液压成形是依托液体高压作用与模具型腔相配合,最终使金属坯料成形出整体化复杂变截面构件的先进制造技术。按使用坯料的不同,可以分为三种类型:板材液压成形、壳体液压成形和管材液压成形。其中管材液压成形是以金属管材为毛坯,借助专用液压设备向密封的管坯内注入液体介质,使管内液体产生高压(工作压力通常100~400MPa,最高达1000MPa),与此同时在管坯两端通过轴向冲头向内施加推力进行补料,在两种外力的作用下,管坯材料塑性变形,并最终与模具型腔内壁贴合,使金属管坯变形成为具有三维形状的空体构件,如图1所示,目前该技术在汽车零部件制造当中的应用也最为广泛。但无论是管材液压成形或管材液压胀形、内高压成形等均是指同一种成形技术。
精益生产利用传统的工业工程技术来消除浪费,着眼于整个生产流程。在精益生产的指导下,生产流程上的各个独立的改善项目被赋予了新意义,使员工十分明确实施该项目的意义。
冲头直接影响到模具产品的质量好坏,那冲头为什么这么重要呢?下面就来给大家讲解一下。
回弹是成形后弯曲角度和弯曲半径复原现象,它是由材料的内应力使变形分布不均匀而产生的。特别是不锈钢的材料,有时在试作或生产中确实非常让人头痛的
6005A铝合金挤压型材的强度比6063铝合金的高,工业的发展需要这种高性能的材料,它首先在欧洲得到研发。目前,国内生产6005A铝合金大直径圆铸锭的厂家较少。为了生产高质量的6005A挤压型材,我们采用从德国联合铝业公司引进的气幕铸造生产线,开发生产6005A铝合金Φ380mm圆铸锭,共给55MN挤压机挤压型材,以此类推,满足各类机台适用6004A铝棒生产。
在价值流程图、精益生产远景图的指导下,流程上的各个独立的改善项目被赋予了新的意义,使员工十分明确实施该项目的意义,持续改进生产流程的方法主要有以下7种。
一、钼对钢的显微组织及热处理的影响 1)钼在钢中可固溶于铁素体、奥氏体和碳化物中,它是缩小奥氏体相区的元素。 2)当钼含量较低时,与铁、碳形成复合的渗碳体,含量较高时可形成钼的特殊碳化物。 3)钼提高钢的淬透性,其作用比铬强,而稍逊于锰。 4)钼提高钢的回火稳定性。作为单一合金元素存在时,增加钢的回火脆性;与铬、锰等并存时,钼又降低或抑制因其他元素所导致的回火脆性。
1、在设计料带前,一定要了解零件的公差要求,材料性能、冲床吨位、冲床台面、SPM(每分钟冲次)、送料方向、送料高度、模厚要求、材料利用率、模具使用寿命。
制造一套可以称之为高大上的模具,不仅要拥有高超的模具设计水平和精密的加工工艺,更离不开的是要有精密的模具开发观念。什么是精密的模具开发观念?有很多人不以为然,认为自己做过那么多的模具怎么会没有精密观念?其实,模具不在于做的多少,而在于你的模具开发是否追求细节的精益求精,是否追求可靠的标准,这个过程绝不允许有“差不多”的概念存在。
1、H13模具钢如何热处理硬度才能达到58℃? 进行1050~1100℃加热淬火,油淬,可以达到要求,但一般热作模具是不要求这么高的硬度的,这么高的硬度性能会很差,不好用,一般在HRC46~50性能好、耐用。
为进一步加快铜产业转型升级,促进铜冶炼行业技术进步,提升资源综合利用率和节能环保水平,推动铜冶炼行业高质量发展,根据国家有关法律法规和产业政策,经商有关部门,工业和信息化部制定了《铜冶炼行业规范条件》,现予以公告。
模具质量的提高必须合理地选择材料,针对不同的材料采用相应的热处理工艺及优化的加工工艺,可以提高模具的制造精度和使用寿命,避免模具发生早期失效。基于此,本文主要针对影响冷冲压模具寿命的因素及提高寿命的措施来进行分析。
日本人善于抓住事物的本质:绩效改善肯定得通过持续发现问题、分析问题、解决问题才能逐步提升。 正因为如此,当你去丰田在全球所有角落的工厂里参观时,会看到车间会有很多安全灯系统,通常总经理办公室也有一套或者能够看得到安全灯。这个安全灯的作用就是当员工发现质量问题时,可以拉下安全灯线,点亮安全灯使生产线暂停,丰田公司中任何一个员工都可以拉安灯系统。灯一亮,警铃就会响起,小组领导便会命令暂停生产。各类工程师、管理人员也会立即亲自赶到现场、掌握现实情况。
模具产品类型很多,要说比较有技术含量的我认为拉伸产品是其中之一。为什么拉伸模很难,设计计算是个难点,模具设计完成试模又是一个难点。对于设计者来说,需要有丰富的设计经验才能设计出相对合理的模具结构。
从裂纹宏观形态先进行大致区分,横向一般与母材无关,纵向裂纹需要结合裂纹形态与鍛打工艺等结合分析。 裂纹两侧有脱碳,肯定是锻造过程中产生的,至于是原材料还是锻造工艺造成的,这就需要根据金相和工艺过程去分析。
精密冲压模具规划制作技能创新不行,许多先进模具中的关键规划内容和技能及制作工艺中的技能、理论以及核心技能掌握不行,导致模具总体水平提高困难,一直处于技能跟进与追寻阶段,到达乃至逾越国际先进水平还缺少相关规划和制作扎实技能的支撑。
丰田现场5S管理(目前丰田只叫4S管理)
多工位级进冲压模是由多个工位组成,各工位按顺序关联完成不同的加工,在冲床的一次行程中完成一系列的不同的冲压加工。让我们来看一套日本的多工位级进冲压模。
大家看汽车上的各种零部件,形状是千姿百态、千差万别,每一个零件形状都是独特的,几乎没有完全一样的。在材质上也有很多种,有铁的、铜的、铝的,还有各种非金属材料的,比如橡胶、塑料、陶瓷、其它复合材料等等。很多人就感到非常奇怪:究竟是什么样的工艺方法,使得一块块金属、塑料等变成形状各异的零部件的?
一辆车是如何被造出来的,相信很多朋友都不太了解。现代汽车早已不是一个沙发加四个轮子,而是机械与电子技术的完美融合。汽车的制造过程就是从刺耳的喧嚣到归于平静,从杂乱无章的混沌到优雅秩序的过程。下面我们就一起来了解一下汽车制造的工艺流程吧。
大家看汽车上的各种零部件,形状是千姿百态、千差万别,每一个零件形状都是独特的,几乎没有完全一样的。在材质上也有很多种,有铁的、铜的、铝的,还有各种非金属材料的,比如橡胶、塑料、陶瓷、其它复合材料等等。很多人就感到非常奇怪:究竟是什么样的工艺方法,使得一块块金属、塑料等变成形状各异的零部件的?
冲压是汽车制造过程中的龙头工艺。汽车冲压车间承担原材料卷料、板料的存放;卷料的开卷剪切;板料的剪切;各车型大、中、小型冲压件的冲压生产;冲压件的存放;废料处理以及设备、模具的日常维修和保养等任务。
翻边工艺是什么? 我们在预先加工好的孔或部分孔型的毛料上(有时也可不预先加工孔),依靠材料的位伸变形沿一定的曲线翻成竖边的冲压方法,就叫做“翻边”,分圆孔翻边和外缘翻边。
汽车车身用铝合金板与传统汽车低碳钢板比,具有弹性模量小易回弹、质地软、成形窗口窄、切口敏感度高等特点。通过分析铝合金板的特点对冲压和产品质量的影响,结合经验数据阐述和总结了铝合金板在冲压工艺设计和模具开发方面需要注意的事项。
德媒称,中国不仅是最大的电动汽车市场,而且是最大的生产国。今年1月至9月,中国批准87.1万辆电动汽车上路,德国同期批准上路的电动汽车数量不足中国的十分之一(7.4万辆),美国同期为23.6万辆。
美国顶尖技师翻新修复1960年雪佛兰发动机,这才是工匠啊
模具由于品种规格较多、形状复杂和表面粗糙度值低,因此其制造难度较大。模具热处理后产生的变形将严重影响模具的质量和使用寿命,一旦在热处理中开裂将造成模具的报废,因此,减少和预防模具热处理变形及避免其开裂是广大模具热处理工作者的重要研究课题。本文就模具在热处理过程中常见的变形与开裂缺陷进行简要阐述,分析其产生的原因,并提出预防措施。
机械、模具加工常见钢材料及其特征
激烈的市场竞争使汽车产品更新换代的速度明显加快,用于加工单一品种的传统刚性冲压设备已不能适应市场多变的产品需求及多品种、中小批量的制造加工特征。冲压制造企业要想省时省钱多办事,就必须找到合理、高效的生产方式。结合实际生产需要,实现压力机、自动送料系统与机器人搬运系统三大模块的有效整合,是一大进步。
在工装夹具的设计和制造、使用和修理中,常常会遇到因材料及热处理选择不当而发生的问题,影响到产品的质量。在处理这些问题时,往往不能单从材料及热处理范围内进行改进,还需要对工装夹具结构进行更改。
上模座下平面对上平面的平行度:将上模座放在测量平板上,用测量仪器触及被测表面,沿凹模周界的对角线测量被测表面,取各条测量线指示器的最大与最小读数差作为平行度的误差值。
一、管材的分类 1、按生产方法分类 (1)无缝管——热轧管、冷轧管、冷拔管、挤压管、顶管 (2)焊管 (a)按工艺分——电弧焊管、电阻焊管(高频、低频)、气焊管、炉焊管 (b)按焊缝分——直缝焊管、螺旋焊管
1-1 制品各部分厚度不同 1-2 模具内在压力不足 1-3 模具冷却不充分 1-4 由于冷却时间不足而产生的变形
我们先来看看下面这个产品,料厚0.8mm,成品的外形很狭窄,而且有一排方孔和一个大长孔距折弯边很近,图二中我们可以看到大方孔距离折弯0.15mm,排孔距离折弯边0.74mm
SKF滚动轴承内部培训视频
激光淬火技术在汽车模具中的应用
机床导轨竟然有这么多种类!你都知道吗?
利用多目标优化方法进行背门的轻量化设计,提出优化过程中的材料成本控制方法,以及包含离散和连续变量的试验设计方法。将反馈机制应用于近似模型的构建过程,搭建了一套适应性强、拟合和预测精度高的参数优化流程。经过优化,提出了两组背门优化方案,在基本不降低力学性能、同时材料成本不大幅提高的前提下,分别实现了4.12 kg和7.64 kg的减重。
焊接热影响区(HAZ)与焊缝不同,焊缝可以通过化学成分的调整、再分配及适当的焊接工艺来保证性能的要求,而热影响区性能不可能通过化学成分来调整,它是在热循环作用下才产生的组织分布不均匀性问题。对于一般焊接结构来讲,主要考虑热影响区的硬化、脆化、韧化、软化,以及综合的力学性能、抗腐蚀性能和疲劳性能等,这要根据焊接结构的具体使用要求来决定。
在这个让人肾上腺激素飙升的视频中,为大家展示了肯纳的一种铣刀的极致加工。在极具挑战的实验过程中,展现该产品的卓越性能和实力,最终达到了20310mm/min 的超高的进给速度:
模具不管是新模还是量产模,因为各种原因都会存在产品尺寸超差的情况。 针对这种情况给大家总结一些实战案例分析,用来提高模具钳工,模修的工作效率。
六角螺母、法兰螺母、压铆螺母,这些我们都能造得出来;那螺母里面套个螺母,各位螺友们,敢挑战一下吗?
在哪几种情况下会造成伺服电机抖动?怎样才能解决这些伺服电机抖动带来的问题?分别是怎么解决的
模具设计结构需要规范化才能规避大部分理论基础错误问题,规范的凸包成型结构,能更好的打出合格产品,下面就一起来看看“高凸成型结构”。
钻头作为孔加工中最为常见的刀具,被广泛应用于机械制造中,特别是对于冷却装置、发电设备的管板和蒸汽发生器等零件孔的加工等,应用面尤为广泛和重要。
冷镦与冷挤压基本上是同样条件的变形加工,但在操作方式上是不一样的。冷镦属于较小型工件的锻造变形,常用于紧固件工业。而冷挤压则属于较大型工件的挤压变形,用途较广泛。
SMED,Single Minute Exchange of Die,“一分钟即时换模”,通常叫快速换模,也叫快速换产,是一种快速和有效的作业切换方法。